【国際公開番号】WO2011/024614
【発行日】平成25年1月31日(2013.1.31)
【出願人】テルモ株式会社
【要約】
【課題】安全性が高く、かつ薬剤移行性が高い薬剤送達用医療器具を提供する。
【解決手段】生体内の管腔壁組織に接触する表面の少なくとも一部に、薬剤およびリン脂質を含む薬剤放出層が設けられており、前記薬剤と前記リン脂質とが固体分散体を形成している、薬剤送達用医療器具およびその製造方法である。
Category Archives: ドラッグデリバリーシステム
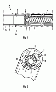
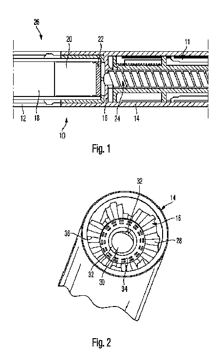
薬物送達デバイス用のハウジング部材
【公表番号】特表2013-502955
【公表日】平成25年1月31日(2013.1.31)
【出願人】サノフィ-アベンティス・ドイチュラント・ゲゼルシャフト・ミット・ベシュレンクテル・ハフツング
【要約】
本発明は、駆動機構(11)を収納するための薬物送達デバイス(10)のハウジング部材に関し、ここで、駆動機構(11)は、薬物送達デバイスにより投与される医薬品を含むカートリッジ(16)のピストン(20)と相互作用するように操作可能である。ハウジング部材は、駆動機構(11)のピストンロッド(24)と操作可能に係合するように、少なくとも一つの半径方向の内側に伸びるフランジ部分(16)を含み、フランジ部分(16)が、少なくとも部分的に構造的に強化されていることを特徴とする。

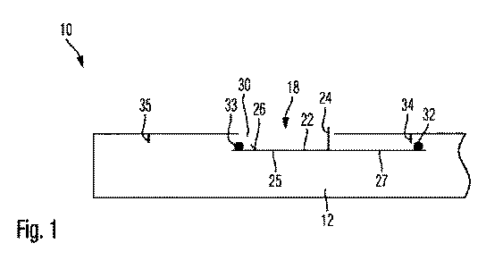
ペン型薬物送達デバイス用の時間に関連する情報を表示するためのリマインダデバイス;そのようなペン型薬物送達デバイス;そのようなペン型薬物送達デバイスの使用及びそのような薬物送達デバイスの製造又は組立方法。
【公表番号】特表2013-502956
【公表日】平成25年1月31日(2013.1.31)
【出願人】サノフィ-アベンティス・ドイチュラント・ゲゼルシャフト・ミット・ベシュレンクテル・ハフツング
【要約】
ペン型薬物送達デバイス用の時間関連情報の表示のためのリマインダデバイスであって、リマインダデバイスは:
-案内デバイスを含むハウジング部分、
-時間情報の表示のための調整エレメントの位置を選択するために案内デバイス上に可動に配列された調整エレメント、
-案内デバイスに沿って配列され、そしてその上に配列された連続的時間表示手段を備えた外面を有する表示デバイス、
を含み、ここで、表示デバイスは、使用者がペン型薬物送達デバイス上に時間情報をマークすることができるように調整エレメントの位置に対応する時間表示を提供する。

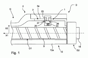
薬物送達デバイス用のリマインダデバイス
【公表番号】特表2013-502957
【公表日】平成25年1月31日(2013.1.31)
【出願人】サノフィ-アベンティス・ドイチュラント・ゲゼルシャフト・ミット・ベシュレンクテル・ハフツング
【要約】
本発明は、薬物送達デバイス(10)用のリマイダデバイスに関し:
-基礎部材(12、14)、
-少なくとも二つの停止位置の間に基礎部材(12、14)に対して、可動に配列された調整エレメント(22、36)、及び
-開口部(30、38)を通して部分的にのみ識別可能な情報面(26、40)を含んでなる表示手段(18、28)、
を含んでなり、ここで、情報面(26、40)の少なくとも二つの指定されたセグメント(25、27)は、基礎部材(12、14)に対する調整エレメント(22、26)の移動により選択的に識別可能になる。

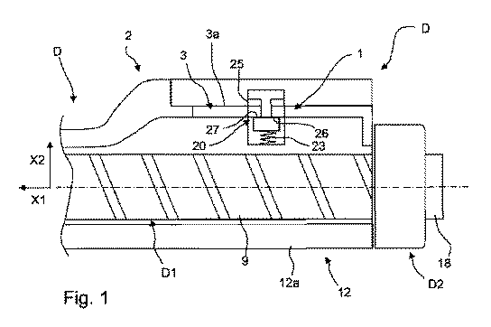
事前に充填されたシリンジを製造するための組立体キット
【公表番号】特表2013-502958
【公表日】平成25年1月31日(2013.1.31)
【出願人】サノフィ-アベンティス・ドイチュラント・ゲゼルシャフト・ミット・ベシュレンクテル・ハフツング
【要約】
本発明は、事前に充填されたシリンジを製造するための組立体キットに関し、特に、組立体キットを用いてそのような事前に充填されたシリンジアセンブリを製造する方法に関し、ここで組立体キットは:-注射可能な医薬品で事前に充填されるカートリッジ(10)の内部容積をシールするための軸方向に移動できる栓(12)を含むカートリッジ(10)の近位端セクションに取り付けられるグリップ手段(20、21)、-カートリッジ(10)の遠位端セクションに取り付けられ、そして流体輸送方式で、カートリッジ(10)の内部容積に連結されるニードルアセンブリ用の台を供している針台(18、19)、-遠位に向けた推力を栓(12)にかけるためのカートリッジ(10)の栓(12)に連結可能なプランジャー棒(26;30)を含み、そしてここで、カートリッジ(10)は少なくとも部分的に保護スリーブ中に埋め込まれる。